Olietemperaturen og viklingstemperaturen inde i en transformer påvirker ydelsen og levetiden for isolerende materialer og påvirker derved transformerens levetid og endda direkte forårsager fejl. Derfor er det nødvendigt at overvåge den reelle - tids intern temperatur på transformeren. I henhold til temperaturmålingsprincippet er der tre typer termometre: 1. kviksølvtermometer; 2. tryktermometer; 3. platinresistenstermometer. Den målte temperatur kan bruges på følgende måder: 1. sendt til hovedkropsmåleren for at vises i ægte - tid gennem markøren; 2. Kontroller køleren og send alarmsignaler gennem meterens hjælpekontakter; 3. den analoge mængde sendes til måle- og kontrolenheden for at vise temperaturen på overvågningsbaggrunden. Drifts- og vedligeholdelsespersonale skal håndtere unormale temperaturforhold i overensstemmelse med producentens brugsanvisning og forskrifter. På grund af højspænding og stærkt magnetfelt inde i store transformatorer vedtages "tryktermometer" (princip 2) generelt. Der er to typer temperaturregulatorer til transformere: olieoverfladetemperaturregulator og viklingstemperaturcontroller, med forskelle i princippet og struktur i et aspekt. Lad os nu introducere den viklede temperaturcontroller.
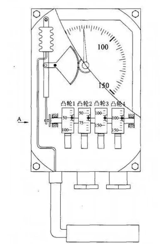
Lad os først kende dens udseende, som vist på figuren nedenfor.

1.. Metalrørets montering i bunden er basen, og temperaturpæren anbringes inde i basen. Temperaturpæren indeholder en temperatur - sensingmedium, der udvides, når den opvarmes. Denne del indsættes i olien over transformeren til en dybde på ca. 150 mm.

2. Den spiralede fjederslange bagpå indeholder et kapillarrør, der overfører det voksende medium til måleren.
Det ekspanderende medium driver det elastiske element, og markøren drives gennem transmissionsmekanismen. Den hvide markør på den øverste urskive viser den rigtige - tidstemperatur.
3.. Der er andre oplysninger om urskiven: en rød markør og fire farve - kodede indikatorblokke (rød, blå, grøn og gul). en. Når temperaturen stiger, drejer den hvide markør til placeringen af den røde markør og fortsætter med at dreje til højre, den vil køre den røde markør til at dreje til højre. Når temperaturen falder, vender den røde markør ikke tilbage med den hvide, så den røde markør registrerer den maksimale position, som den hvide markør har nået. b. De fire farver - kodede pointer svarer til fire grupper af normalt åbne (eller normalt lukkede) hjælpekontakter, og den tilsvarende temperaturværdi er handlingsværdien af hjælpekontakten.


Funktionerne i hjælpekontakterne vælges af brugeren, omtrent som følger: K1. Køligere returtemperatur; K2. Køligere starttemperatur; K3. Alarm med høj temperatur; K4. Høj temperaturrejse. De fleste nye målere har nu 6 grupper af hjælpekontakter, med K5 i grå og K6 i lilla, som kan bruges efter behov eller holdes som reservedele.
Imidlertid er temperaturen målt ovenfor stadig olietemperaturen, hvilket ikke har noget at gøre med viklingerne. For øvrig er viklingens placering utilgængelig for termometeret, så der vedtages en løsning, og det er her, hvor viklingstemperaturregulatoren adskiller sig fra olieoverfladetemperaturregulatoren.
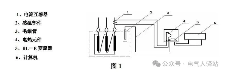
Ovenstående er bare et skematisk diagram over princippet. Lad os ikke bekymre os om, hvordan transformatorens viklinger til venstre er forbundet. Her er komponenter 1, 4 og 5 de specielle funktioner. For at sige det enkelt er princippet at konvertere belastningsstrømmen i 1-4-5 kredsløb til stigning i kobbertemperaturen og derefter overlejre den på olietemperaturen for at opnå viklingstemperaturen.
1 er den sekundære spole for den høje - spændingssidebøsning CT. Outputstrømmen omdannes af den nuværende konverter (5) til en passende strøm ved hjælp af en specifik metode (da de sekundære strømme varierer mellem producenterne på grund af forskelle i transformationsforhold osv., Er nuværende konvertering nødvendig). Den konverterede strøm passerer gennem det elektriske varmeelement (4), og den genererede varme driver en stigning i forskydningen af det elastiske element, hvilket resulterer i en højere indikeret temperatur, hvilket afspejler viklingstemperaturen.
Der er også en termisk simuleringsmetode her: den konverterede CT -sekundære strøm bruges til at opvarme temperaturpæren.
Se på navneskilt: Sekundæren bruges til måling af viklingstemperatur.
Tidligere talte vi om temperaturcontrolleren. Da der er mere at komme, forklarede vi oprindelsen af temperaturmarkøren for temperaturcontrolleren på det tidspunkt. Temperaturpæren, der indsættes i transformerolien, fornemmer olietemperaturen, og det elastiske medium i temperaturpæren overfører udvidelsen til markøren og indikerer derved temperaturen. To spørgsmål blev ikke løst på det tidspunkt: først, hvor nøjagtigt opvarmes af CT -strømmen i måling af viklingstemperatur; For det andet, hvordan den digitale temperatur, der vises på overvågningsbaggrunden, kommer fra. Efter omhyggeligt at studere instruktionerne og konsultere målerproducenten, har vi fået svarene. Først opvarmer CT -strømmen (strømmen konverteret af den strømtransformator) temperaturpæren i transformeren. Som vist i dette tal konverteres den aktuelle output fra 1 gennem 5 og indføres derefter til 2 for at opvarme temperaturpæren.

Figuren nedenfor var forvirrende og svært at forstå i starten, men nu giver det mening. Den stiplede kasse til højre skal være et forstørret billede af temperaturbasen til venstre. De to kasser, der er forbundet med den røde linje, er faktisk den samme komponent. Dette gør det lettere at forstå: Inde i temperaturbasen er der en temperaturpære, et elektrisk varmeelement (til det snoede termometer) og en PT100 -modstand.

Derfor er beskrivelsen i dette afsnit af "Temperaturcontroller 1" unøjagtig. Det kan ikke siges, at der er en anden termisk simuleringsmetode. Efter at have undersøgt flere modeller viser det sig, at alle viklingstemperaturregulatorer vedtager simuleringsmetoden.
"1 er den sekundære spole af den høje - spændingssidebøsning Ct. Udgangsstrømmen omdannes til en passende strøm af den 5 strømkonverter ifølge en bestemt metode (da den sekundære strømme varierer mellem forskellige producenter på grund af forskelle i transformationsforhold osv. Element til at stige, så den angivne temperatur også øges, hvilket afspejler den viklingstemperatur.
Det andet spørgsmål er: Hvordan opstår den temperatur, der vises på baggrundsovervågningen? Lad os se på hovedtransformat temperaturmålingskredsløbsdiagram.
Termometeret udsender to 4-20mas aktuelle signaler. Her er en kort introduktion til PT100 Platinum -modstand: "PT100 er en platina -termisk modstand, hvis modstand ændrer sig med temperaturen. '100' i PT100 indikerer, at dens modstand er 100 ohm ved 0 grader og cirka 138,5 ohm ved 100 grader."
Modstanden for alle ledere ændres med temperaturen, men ændringen i platinemodstande er stabil og signifikant. Temperaturmålingsprincippet fungerer ved at plotte dette tilsvarende forhold som en kurve og derefter kontrollere temperaturen svarende til den målte modstand mod kurven. Denne omdanner temperatur til modstand, hvor modstand er lig med spænding divideret med strøm. En computer behandler det elektriske signal for at opnå temperaturen fra PT100.
Derfor er anvendelse af en DC -spænding på platinemodstanden i temperaturpæren og udsendelse af strømmen, hvordan temperaturtransmitteren fungerer, som er delen i den røde ramme af figuren nedenfor. (Dette er det grundlæggende princip; i praksis har temperaturoverførsler også kredsløb til nuljustering og kompensation for nøjagtighed, som ikke behøver at blive forstået detaljeret.)
Det kan også direkte udsende PT100 (delen i den blå ramme). Min forståelse er, at temperaturcontrolleren er ansvarlig for at føre de to ender af modstanden (eliminering af behovet for en sender), og målingskredsløbet anvender spænding i sig selv til beregning.
Hvad angår hvorfor PT100 har tre kundeemner, kontrollerede jeg online og fandt følgende forklaring (denne del er valgfri læsning): En PT100 -platinemodstandssensor har tre kundeemner, som kan repræsenteres af A, B, C (eller sort, rød, gul). Reglerne mellem de tre ledninger er som følger: modstanden mellem A og B eller A og C er ca. 110 ohm ved stuetemperatur, mens modstanden mellem B og C er 0 ohm, fordi B og C er direkte forbundet internt. I princippet er der ingen forskel mellem B og C. Generelt giver displayinstrumenter en tre - trådforbindelsesmetode. Den ene ende af PT100 har den ene føring, og den anden ende har to kundeemner, alle forbundet til instrumentet. Instrumentet opvejer internt blymodstanden gennem et brodi -kredsløb.
En sidste regulering: Temperaturen, der vises af måleren, og at på overvågningsbaggrunden ikke må afvige med mere end 5K. De temperaturer, der er angivet med flere termometre på stedet, temperaturskærmenhederne i kontrolrummet eller overvågningssystemet skal stort set være konsistent med en fejl, der ikke overstiger 5K.
CTA -sektion (forbedring af konverteringsfrekvensen):
📞 Få de eksklusive løsninger til de sydamerikanske og afrikanske markeder nu
E -mail: jsm687254@gmail.com
Consult Engineers via WhatsApp: +86 15706806907 (vedhæftet med produktmanual PDF)
